Samsung estudia el uso del patrón de flujo sanguíneo como forma de acceso al smartphone

Una nueva patente descubierta por el Galaxy Club muestra que Samsung podría estar trabajando en una nueva forma de identificar a los usuarios: los patrones de flujo sanguíneo.
Si no quieres desbloquear el teléfono con tus huellas dactilares o tu cara, los latidos de tu corazón podrían ser la siguiente mejor opción.
💻 ¡Ofertas del Black Friday! ¡Office 2021 Pro disponible a 29,28€! ¡Paga una vez y úsalo de por vida! [ Saber más ]
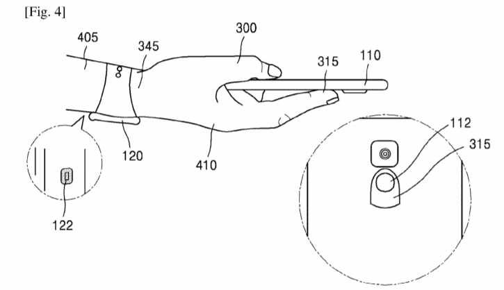
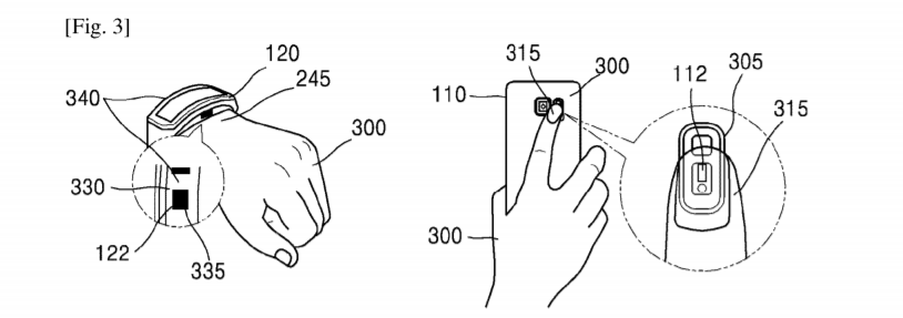
Según la patente, «las vías arteriales de conducción de diferentes usuarios casi nunca son idénticas», por lo que un smartphone o un smartwatch podría demostrar que tú eres quien dice ser y desbloquear tus gadgets sin necesidad de un código PIN o cualquier otro tipo de autenticación.
La aplicación obvia para este tipo de tecnología sería para su uso en wearables, como el Gear S3. Si un dispositivo pudiera leer tus patrones de flujo sanguíneo sin tener que mover un dedo, la confirmación de los pagos móviles o el acceso podría ser casi instantáneo.
La industria se está moviendo hacia medidas biométricas para verificar identidades, en lugar de contraseñas y códigos PIN. En los últimos años hemos visto escáneres de iris, escáneres de huellas dactilares, y reconocimiento facial como formas de acceder a los teléfonos inteligentes.
Un escáner de flujo sanguíneo podría funcionar incluso conjuntamente con un escáner de huellas digitales, haciendo mucho más difícil para los atacantes engañar al teléfono. Además de permitir el acceso a un dispositivo, también podría desbloquear el acceso a determinadas cuentas o archivos privados.
Como siempre sucede con las solicitudes de patentes, esto no garantiza que la tecnología vaya a salir a la luz algún día, pero demuestra que Samsung al menos está trabajando en la idea de un escáner de flujo sanguíneo. Fuente: Sammobile








