Apple registra una patente para mostrar en sus Mapas información de tráfico e incidencias enviada por usuarios

Hace unos meses surgió el rumor de que Apple iba a adquirir Waze pero finalmente fue Google quien acabó comprando a esta compañía de Israel.
Una nueva patente de Apple dada a conocer hace unas horas sugiere que la compañía estaría detrás de ofrecer un servicio similar a Waze en su propia aplicación nativa iOS Maps, es decir, mostrar información de tráfico en tiempo real procedente de los datos agregados de los usuarios.
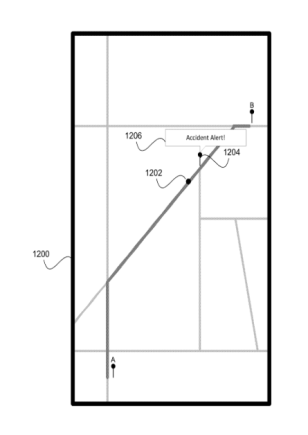
Bajo el nombre «puntuación y alertas de rutas indicadas por los usuarios,» la patente detalla cómo la aplicación de Mapas generará rutas en base a los datos colectivos de los usuarios. Para ello se creará un sistema en la aplicación iOS Maps que permitirá a los usuarios asignar una puntuación a una ruta que acaban de tomar.
Esta información se enviará a un servicio central de navegación que generará diferentes rutas para diferentes usuarios en base a dicha información. Los usuarios también podrán añadir otra información como indicar una alerta si ven una calle cortada o un accidente, en cuyo caso esta información se le mostrará a otro usuario en base a su proximidad con dicho lugar.
Esta patente fue registrada en diciembre de 2011 pero tales funcionalidades no han sido añadidas todavía a la aplicación iOS Maps, por lo que por el momento se desconoce si alguna vez serán incorporadas.
- Patente Apple
- Patente Apple
- Patente Apple
- Patente Apple











